
炒股就看金麒麟分析师研报甲级职业联赛,泰斗,专科,实时,全面,助您挖掘后劲主题契机!
杉杉系的遗产争夺战似乎迎来了大结局:90后犬子郑驹辞去董事长职务,由他的80后继母周婷接任。
在公缔造布的信件中,周婷称,本年下半年以来,因为多重身分的重复,杉杉控股和杉杉集团遭受了较大的挑战……“感谢大师的信任和因循,保举我来担任杉杉企业的领头东说念主。”
红星成本局扎眼到,杉杉股份(维权)(600884.SH)的功绩下滑彰着。在本年前三季度,杉杉股份的营收约为132.84亿元,同比下落9.69%;净利润约为2321万元,同比下落98.07%。
不仅如斯,杉杉系企业的计议还面对防御重勤劳,罚单、资金焦虑、股权冻结……
80后继母开“炮”参加董事会
一切发祥于2023年2月。彼时,杉杉系的独创东说念主郑永刚升天,他的遗孀周婷、犬子郑驹(郑驹母亲为郑永刚前妻)开启了遗产争夺大战。
其中,周婷诞生于1982年,曾任上海市青联委员,浙江卫视、东方卫视新闻部记者、主播,第一财经集团电视新闻部记者、主播。
而郑驹诞生于1991年。红星成本局通过公众号“杉杉通”扎眼到,至少在2015年,郑驹已参加杉杉系企业责任。在郑永刚升天后,郑驹当选为杉杉股份的董事长。
起始开“炮”的东说念主是周婷。
据国外金融报报说念,在郑驹当选为董事长今日(2023年3月23日),周婷现身杉杉股份的鼓吹大会,并指称此次鼓吹大会是违法和失实的。
周婷觉得,行动郑永刚的现任佳耦及3名亲生子女的法定监护东说念主,基于吸收相干,她应当为杉杉股份的本体规定东说念主,且应由她来填补空白的董事席位。
同期,据杉杉股份透露的公告,周婷在功令层面也接收了措施。
2023年3月,周婷相等三位未成年子女向法院拿起民事诉讼并央求财产保全,杉杉股份的障碍控股鼓吹的控股鼓吹——宁波青刚投资有限公司(下称“宁波青刚”)51%股权被冻结。
直到2023年5月,事态有了变化。
2023年5月10日,杉杉股份召开鼓吹大会,周婷当选非独处董事,郑驹当选董事长;此后,杉杉股份发公告称,宁波青刚被冻结的51%股权打消冻结。
遗产争夺战少顷落下帷幕,周婷成为董事,郑驹也曾董事长。
90后犬子掌管杉杉功绩欠安
自郑驹坐上董事长的位置至本年11月,已夙昔约一年半的时代,但在此技能,杉杉股份的功绩彰着下滑。
公开而已长远,郑永刚于1989年创立杉杉,以服装业务起家。1999年,杉杉转型参加锂电板材料限制,后又收购LG化学偏光片业务,形成了“锂电板负极材料+偏光片”双业务时势。
红星成本局翻阅杉杉股份的财报发现,2023年,杉杉股份的营收约为190.70亿元,同比下落12.13%;净利润约为7.65亿元,同比下落71.56%。
而在本年前三季度,杉杉股份的营收约为132.84亿元,同比下落9.69%;净利润约为2321万元,同比下落98.07%。
截图自杉杉股份公告
关于功绩的下滑,杉杉股份在公告中给出了三大事理:
1、两伟业务均受行业周期变动影响,市集竞争蛮横,居品价钱同比下落,导致净利润同相比大幅度减少;
2、剥离非中枢钞票,以及部分参股企业赔本较大,对当期功绩形成较大不利影响;
3、前年同期出售了电解液业务部分股权,证明了约2.44亿元投资收益,而本期莫得此业务对应的投资收益。
不仅是功绩下滑,郑驹本东说念主也因企业的不门径运营收到秩序刑事背负。
经宁波监管局查明,杉杉股份相等控股鼓吹杉杉控股有限公司(下称“杉杉控股”)存在两项违法行为:①杉杉控股通过讹诈供应商、工程施工方等神志占用杉杉股份资金情形,且未实时透露;②部分研究往复未试验审议法子且未实时对外皮露。
其中,从2022年1月至2024年4月,杉杉控股累计占用17.88亿元。
本年11月,上海证券往复所下发秩序刑事背负决定书,对杉杉控股给予公开谴责,对杉杉股份实时任董事长的郑驹等东说念主给予通报品评。
周婷接任董事长
发布公开信:任重道远
11月18日,杉杉股份突发公告称,郑驹因责任原因央求辞去董事长职务,董事会现选举董事周婷为董事长。
今日,周婷通过公众号“杉杉通”发布《致整体杉杉同仁的一封信》。
周婷称,在沉重时刻(指郑永刚升天时),郑驹勇挑重任,全面接办杉杉,为守护公司的褂讪和发展作出了孝敬,公司董事会暗示至心感谢!今日,她和郑驹已完成责任顶住。
周婷还在信中称,本年下半年以来,因为多重身分的重复,杉杉控股和杉杉集团遭受了较大的挑战……她深知:在面前情况下,时代病笃、背负要紧,她将任重道远投身杉杉的计议惩处,也但愿赓续赢得整体杉杉同仁的因循和匡助。
红星成本局扎眼到,面前,杉杉系企业遭受的勤劳不仅是功绩下滑,还有资金焦虑等问题。
11月8日,杉杉股份发公告称,其控股鼓吹杉杉集团有限公司(下称“杉杉集团”)因融资融券业务债务过时,其通过国泰君安(601211.SH)客户信用往复担保证券账户执有公司6523万股股份存在被强制平仓的风险。
限制该公告透露日,杉杉集团团结口径(除杉杉股份外)有息欠债总和为122.65亿元,其中1年内到期的短期债务为114.20亿元,当今其有息债务均平素存续。
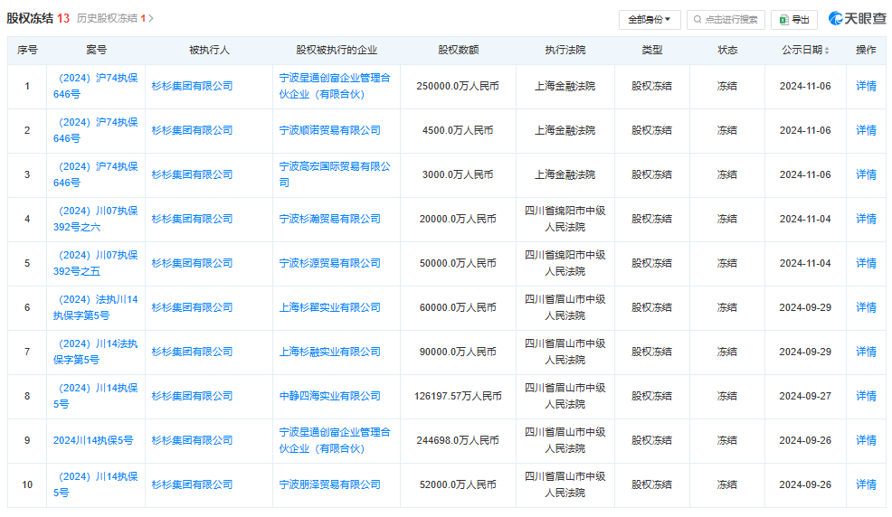
不仅如斯,天眼查APP长远,本年以来,杉杉集团、杉杉控股有限公司等杉杉系企业屡次被列为被实施东说念主,其执有的股权屡次遭到功令冻结。
截图自天眼查
海量资讯、精确解读,尽在新浪财经APP
背负剪辑:杨红卜 甲级职业联赛
